WD型外置式电动滚筒具有普通内置式电动滚筒和电机-减速机-传动滚筒的共同优点,而且滚筒直径、功率范围可以满足用户的各种需要,可配偶合器、制动器、逆止器、变频调速、离合等不同附加功能。不受任何限制,目前已广泛应用于钢厂、煤矿、电厂、矿山、港口、石材厂等许多场所。
WD型可以制成防爆式电动滚筒。WD型外置式电动滚筒可以分为WD1型外置式电动滚筒和WD2型外置式电动滚筒;WD1型外置式电动滚筒一般大于45KW,电机带底角;WD2型的功率一般小于或等于45KW,电机悬置.WD型外置式电动滚筒订货代号示例:
一、WD型外装式电动滚筒简介
二、WD型外装式电动滚筒选用
三、WD型外装式电动滚筒分类
四、WD型外装式电动滚筒系列参数表
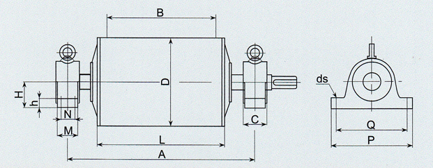
五、WD型外装式电动滚筒外型安装尺寸
WD型外装式电动滚筒订货须知
示例:


选用时请用户提出电机功率N,胶带速度V,胶带宽度B和滚筒直径D四个参数及安装形式和电机类型。
注意事项
1.滚筒表面如需包胶,请在合同中注明。
2.特殊要求的非标准滚筒,本厂可为用户设计,制造。
3.判断滚筒旋转方向必须从电机尾部观察,顺时针标注“S”,逆时针标注“N”。不带逆止器不标注旋转方向代号。
4.WD型电动滚筒内润滑油,推荐使用我国生产的150号合成极压工业齿轮油。电动滚筒出厂时,可根据用户需要注润滑油,需在合同中注明。
欢迎新老用户选用我厂生产的外装式电动滚筒
一、WD型外装式电动滚筒简介
WD型外装式电动滚筒结构新进,齿轮和前后轴采用优质合金结构钢制造,传动平稳,重量轻,能耗低,采用标准系列电极配套,适合一般工况场合。对有隔爆要求场合,可采用隔爆型电机。本产品是大中型带式输送机的理想驱动装置。
二、WD型外装式电动的滚筒选用
1、WD型外装式电动滚筒可分为滚筒和驱动装置两大部分。下面分别介绍这两大部分。
1)滚筒体及本座
滚筒体及支座的一般规格可以从“四.WD型外装式电动滚筒系列参数表”中选用,特殊要求的规格可根据用户要求设计。
2)驱动部分
驱动部分包括电机、联轴器、逆止器、液力偶合器、电磁制动器。由于安装形式不同,可分为WDI型和WDII型两种安装方式。
2、WD型外装式电动滚筒功率选择计算
电动滚筒计算功率在各种机械手册中都有推荐公式,但方式不尽相同,计算结果也可能稍有出入。为了使电动滚筒的设计计算与用户的使用要求统一起来,我们推荐采用下列公式计算电动滚筒所需要的功率:安全系数由设计人员根据需要自行设订,推荐为0.7即实际所需功率为P实=P÷0.7

式中:p ——— 电动滚筒的轴功率(kW)
c ——— 输送带、轴承等处的阻力系数,数值可以从表1中查到
f ——— 托辊的阻力系数f=0.025~0.030
L ——— 驱动滚筒 与改向滚筒之间的水平投影(m)
Gm ——— 输送带、托辊、改向滚筒等旋转零件的重量(kg/m)
Gm 的数值可从表2中查到。
V ——— 带速(m/s)
Qt ——— 输送量(t/h)
H ——— 输送高度(m)
B ——— 带宽(mm)

3.WD型外装式电动滚筒的转矩计算:

式中:M —— 转矩(N·m);D —— 滚筒直径(m)
P —— 功率(kW);V——带速(m/s)
三、WD型外装式电动滚筒分类
WD I 型外装式电动滚筒:电机与滚筒用联轴器联接,配用卧式电机(带底脚)
WD II 型外装式电动滚筒:电机与滚筒用法兰盘直接联接,电机功率限制在55kw以下。配用立式电机。
WD型外置式电动滚筒的参数表:点击下载此文件
WD2型外置式电动滚筒的安装外形尺寸:


江苏重泰减速机有限公司
采购 泰兴减速机 请选择重泰减速机有限公司(原 泰兴减速机总厂)
全国咨询电话: 400-710-9918 传真:0510-80212333/85516654/85508340
座机:0510-80212111/80212555/80210978/85519221/85518416/85511836
邮箱:1051532995@qq.com 地址:无锡市解放北路16号