导航 搜索
    XD型机架



    注:由于市场价格时有波动,以下价格仅供参考,实际以销售人员报价为准,详情请拨打:13861821233

    商品介绍

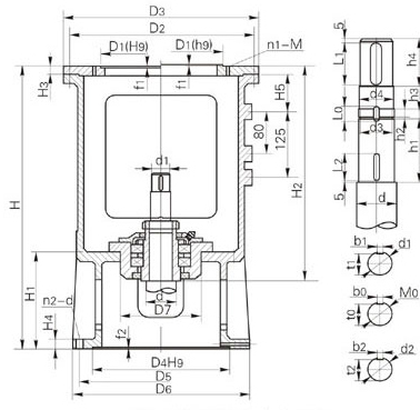
       本系列机架是化工行业最新标准机架,是为搅拌传动装置(HG21563-95)配套的机架。XD型为单支点机架,减速机出轴用DF型联轴器与搅拌轴联接,XS型为双支点机架,减速机出轴用HL型联轴器联接,两支点间用DF型联轴器联接。机架分A型(轴封采用2001、2003、2004、2006型机械密封)或B型(轴封(2002、2005、2007型机械密封或506、516、606、616型填料箱)。机架输出端接口可与第九部分(二节)所列的安装底盖及釜口法兰联接。
    本系列机架通用性强,由于选用型DF联轴器及安装底盖的搁轴装置,所以在不拆除减速机和机架的条件下,在机架的侧面窗口中就可以拆出带短节联轴器、轴承室及机械密封或填料箱。

     

     

    型号标定方法及示例:
     
    减速机类型
    减速机输出轴径d0
    机架型式(A型、B型)。
    传动轴轴径d
    机架型号

     

    1、XD型单支点机架
    主要参数及尺寸(公称直径200、250、300)

     

    机架
    型号
    机架
    公称
    直径
    传动轴
    轴径d
    传动轴上
    端轴径d1
    减速机
    输出轴
    径d0
    输入
    端接
    输出端接口 外形及其它尺寸 轴承型号 重量(kg)
    D4
    H9
    D5 D6 n2-d f2 A型 B型 H3 H4 H5 D7
    H8/f7
    A型 B型
    H H1 H2 H H1 H2
    XD1 200 30 20 12
    245 295 340 8-22 6 575 220 415 730 295 495 17 24 85 180 46209 57 61
    14
    18
    40 30 25 415 495 46209 57 60
    30
    XD2 250 50 40 30 290 350 395 12-22 6 750 268 556 995 388 681 20 30 100 245 46214 106 116
    35
    40
    60 45 35 556 681 46214 107 117
    40
    45
    70 55 45 565 690 46217 104 114
    50
    55
    XD3 300 60 45 35 320 400 445 12-22 6 795 279 595 1040 399 720 20 30 100 280 46216 153 164
    40
    45
    70 55 45 595 720 46216 150 161
    50
    55
    80 65 55 606 731 46218 149 160
    60
    65

    机架
    型号
    机架
    公称
    直径
    传动轴
    轴径d
    传动轴上
    端轴径d1
    传动轴端尺寸
    M0 d2(h9) d3 d4 h1 h2 h3 h4 L1 L0 L2 b1 b0 b2 t1 t0 t2
    XD1 200 30 20k6 M25×1.5 25 22.8 22 97 3 15 48 40 23 30 6 5 5 16.5 21 22
    40 30k6 M35×1.5 35 32.8 32 97 3 15 48 40 24 30 8 6 6 26 31 31.5
    XD2 250 50 40k6 M45×1.5 45 42.8 42 105 3 15 58 50 24 30 12 6 6 35 41 41.5
    60 45k6 M55×2 55 52 50 115 4 18 68 60 30 40 14 8 8 39.5 51 51
    70 55m6 M65×2 65 62 60 125 4 18 83 75 30 40 16 8 8 49 61 61
    XD3 300 60 45k6 M55×2 55 52 50 125 4 18 68 60 30 40 14 8 8 39.5 51 51
    70 55m6 M65×2 65 62 60 125 4 18 83 75 30 40 16 8 8 18 61 61
    80 65m6 M75×2 75 72 70 139 4 18 98 90 32 50 18 10 10 58 69 70

    XD型单支点机架主要参数及尺寸(公称直径400,500,700)
    机架
    型号
    机架
    公称
    直径
    传动轴
    轴径d
    传动轴上
    端轴径d1
    减速机
    输出轴
    径d0
    输入
    端接
    输出端接口 外形及其它尺寸 轴承型号 重量(kg)
    D4
    H9
    D5 D6 n2-d f2 A型 B型 H3 H4 H5 D7 A型 B型
    H H1 H2 H H1 H2
    XD4 400 90 75 55
    415 515 565 16-26 6 890 310 691 1115 420 806 25 35 100 310 46222 251 256
    65
    70
    100 85 65 691 806 46222 256 270
    70
    80
    XD5 500 100 85 65 520 620 670 20-26 6 1075 369 821 1325 494 946 30 40 140 335 46224 409 435
    70
    80
    110 90 70 821 946 46224 405 431
    80
    90
    120 100 90 829 954 46228 401 427
    95
    100
    130 110 95 829 954 46228 395 421
    100
    110
    XD6 700 120 100 90 670 780 830 28-26 6 1185 399 909 1415 514 1024 35 45 100 400 46228 729 766
    95
    100
    130 110 95 909 1024 46228 721 758
    100
    110
    140 120 100 927 1042 46232 729 766
    110
    120
    160 140 120 943 1058 46234 697 734
    130
    140
    XD7 900 140 120 100 940 1070 1124 40-30 6.4 1320 440 1021 1560 570 1141 40 50 140 520 46232 985 874
    110
    120
    160 140 120 1037 1157 46234 1000 889
    130
    140
    180 160 140 1050 1170 46240 1010 899
    150
    160
    200 180 160 1070 1190 46244 1032 921
    170
    180

    机架
    型号
    机架
    公称
    直径
    传动轴
    轴径d
    传动轴上
    端轴径d1
    传动轴端尺寸
    M0 d2(h9) d3 d4 h1 h2 h3 h4 L1 L0 L2 b1 b0 b2 t1 t0 t2
    XD4 400 90 75m6 M85×2 85 82 80 162 4 18 108 100 32 50 20 10 10 67.5 79 80
    100 85m6 M95×2 95 92 90 166 4 22 118 110 38 50 22 12 12 76 89 90
    XD5 500 100 85m6 M95×2 95 92 90 166 4 22 118 110 38 50 22 12 12 76 89 90
    110 90m6 M100×2 100 97 95 166 4 22 118 110 38 50 25 12 12 81 94 95
    120 100m6 M110×2 110 107 105 177 4 22 128 120 40 60 28 14 14 60 104 104.5
    130 110m6 M120×2 120 117 115 177 4 26 138 130 44 70 28 14 14 100 114 114.5
    XD6 700 120 100m6 M110×2 110 107 105 177 4 22 128 120 40 60 28 14 14 90 104 104.5
    130 110m6 M120×2 120 117 115 177 4 26 138 130 44 70 28 14 14 100 114 114.5
    140 120m6 M130×2 130 127 125 197 4 26 153 145 44 70 32 14 14 109 122 124.5
    160 140m6 M150×2 150 147 145 207 4 30 168 160 50 70 39 16 16 128 142 144
    XD7 900 140 120m6 M130×2 130 127 125 197 4 26 153 145 44 70 32 14 14 109 122 124.5
    160 140m6 M150×2 150 147 145 207 4 30 168 160 50 70 36 16 16 128 142 144
    180 160m6 M170×3 170 166 165 227 4 32 198 190 52 80 40 16 16 157 162 164
    200 180m6 M190×3 190 186 185 242 4 32 238 230 54 90 45 18 18 175 180 182

    XD、XS型机架输入端接口尺寸
    减速机输出轴径d0 减速机类别代号 D1 D2 D3 n1-M f1
    12 Z 65 100 120 4-M6 3
    14 Z 85 120 140 4-M8 3
    18 Z 100 134 160 4-M8 4
    25 Z 130 160 180 6-M8 4
    C 170 200 230 6-M10 3
    30 C 200 230 260 6-M12 4
    35 Z 170 200 230 6-M10 5
    C 230 260 290 6-M12 4
    40 Z 170 200 230 6-M10 5
    C 230 260 290 6-M12 4
    45 Z 200 230 260 6-M10 5
    C 230 260 290 6-M12 4
    50 Z 200 230 260 6-M10 5
    C 270 305 340 8-M16 5
    55 Z 270 310 340 6-M10 5
    C 270

    305

    340 8-M16 5
    60 C 320 360 400 8-M16 5
    65 Z 316 360 400 8-M12 6
    Z1 270 310 340 6-M10 5

    减速机输出轴径d0 减速机类别代号 D1 D2 D3 n1-M f1
    60 C 320 360 400 8-M16 5
    70 Z 316 360 400 8-M16 6
    C 320
    316
    360 400 8-M16 5
    80 Z 345 390 430 8-M16 6
    Z1 316 360 400 8-M12 6
    C 360 410 460 8-M20 6
    90 Z 400 450 490 12-M16 8
    C 360 410 460 8-M20 6
    95 Z 400 450 490 12-M16 8
    Z1 455 520 580 12-M20 10
    100 Z 455 520 580 12-M20 10
    C 470 520 580 12-M20 6
    110 Z 520 590 650 12-M20 12
    C 470 520 580 12-M20 6
    120 Z 520 590 650 12-M20 12
    C 550 600 660 12-M20 6
    130 Z 680 800 880 12-M30 12
    C 680 800 880 12-M30 8
    140 Z 680 800 880 12-M30 12
    180 Z 900 1020 1160 12-M36 12

     

    注:1、减速机类别代号Z为x系列,B系列的摆线针轮减速C为LC型,DC型齿轮减速机。
    2、其他类型减速机由我公司对接口加以调整后也可配套。


    热卖产品
    立即咨询:13861821233 点击这里给我发送消息 售后服务