K系列斜齿-伞齿轮减速机
K系列斜齿-伞齿轮减速电机是在模块组合体系的基础上设计的新一代机电一体化产品,该减速机由斜齿轮-伞齿轮减速器和电机组成,斜齿轮和伞齿轮采用优质合金钢材料,表面硬化处理,经过高密度设备加工成形。箱体为铸铁箱体,箱体经过精密加工,确保形状与位置精度。满足承载力强、寿命长,体积小,速比大,重量轻,效率高,噪音低的优越性能。
K系列斜齿-伞齿轮减速机 产品概述:
1、K系列螺旋锥齿轮减速机结合国际技术要求制造,具有很高的科技含量。
2、节省空间,可靠耐用,承受过载能力高,功率可达200KW以上。
3、能耗低,性能优越,减速机效率高达95%以上。
4、K螺旋锥齿轮减速机振动小,噪音低,节能高。
5、选用优质段钢材料,钢性铸铁箱体,齿轮表面经过高频热处理。
6、经过精密加工,构成了斜齿轮、伞齿轮、锥齿轮传动总成的减速机配置各种类电机,形成机电一体化,完全保证了减速电机产品使用质量特征。
1. K系列斜齿-锥齿轮减速机 型号与标记
(1)K系列斜齿-锥齿轮减速机型号有:K、KA、KAB、KF、KAF、KAT、KS型7种。
(2)K系列斜齿-锥齿轮减速机标记

K系列螺旋锥齿轮减速机外形及安装尺寸(Q/ZTB 06-2001)


K型齿轮减速器主要尺寸 /mm
| 型号 | 安 装 尺 寸 | 轴 伸 尺 寸 | 外 形 尺 寸 | ||||||||||
| H0 |
B0
A0
|
C0
a2
|
a3
q
|
A1
d0
|
d | L | S |
b
t
|
B
H
|
L1
h
|
W
h1
|
A
C
|
|
| K37 | 100 |
100
110
|
115
28
|
32
63
|
10
11
|
25k6 | 50 | M10 |
8
28
|
120
165
|
198
16
|
110
7
|
150
145
|
| K47 | 112 |
120
130
|
130
35
|
37
71
|
15
11
|
30k6 | 60 | M10 |
8
33
|
145
186
|
238
18
|
135
6.3
|
165
170
|
| K67 | 140 |
140
120
|
160
30
|
45
90
|
21
13.5
|
40k6 | 80 | M16 |
12
43
|
170
228
|
251
24
|
171
20
|
175
203
|
| K77 | 180 |
165
150
|
200
40
|
55
112
|
23.5
18
|
50k6 | 100 | M16 |
14
53.5
|
200
288
|
296
27
|
206
31.3
|
205
263
|
| K87 | 212 |
180
180
|
233
55
|
70
132
|
30
22
|
60m6 | 120 | M20 |
18
64
|
230
340
|
352
32
|
240
25.9
|
255
311
|
| K97 | 265 |
240
240
|
295
75
|
75
160
|
31
26
|
70m6 | 140 | M20 |
20
74.5
|
290
414
|
362
36
|
291
32.3
|
320
372
|
| K107 | 315 |
270
280
|
360
95
|
95
200
|
42
33
|
90m6 | 170 | M24 |
25
95
|
340
508
|
448
40
|
347
31.3
|
390
455
|
| K127 | 375 |
330
350
|
420
115
|
110
225
|
43
39
|
110m6 | 210 | M24 |
28
116
|
400
592
|
490
45
|
418
57.2
|
460
526
|
| K157 | 450 |
420
380
|
500
140
|
130
280
|
37
39
|
120m6 | 210 | M24 |
32
127
|
500
705
|
536
50
|
457
77
|
495
634
|
KA37、KA47、KA67、KA77、KA87、KA107、系列螺旋锥齿轮减速机外形及安装尺寸(Q/ZTB 06-2001)


KA127型、KA157型减速器主要尺寸 /mm
| 型 号 | 安 装 尺 寸 | 轴 伸 尺 寸 | 外 形 尺 寸 | ||||||||||||
| H0 |
B0
A0
|
C0
a2
|
a3
q
|
d0 |
d
(H7)
|
b
t
|
L2 | M |
B
L1
|
H |
W
f4
|
h1 |
A
C
|
h | |
| KA127 | 375 |
330
350
|
420
115
|
110
225
|
39 | 100 |
28
106.4
|
370 | 用户自配 |
400
490
|
505 |
205
2.5
|
57.2 |
460
526
|
45 |
| KA157 | 450 |
420
380
|
500
140
|
130
280
|
39 | 120 |
32
127.4
|
457 |
500
536
|
705 |
250
6
|
77 |
495
634
|
50 | |
注:箱体与K型相同。
KAB47、KAB67、KAB77、KAB87、KAB97、KAB107、KAB127、KAB157、系列螺旋锥齿轮减速机外形及安装尺寸(Q/ZTB 06-2001)


KAB型减速器主要尺寸 /mm
| 型 号 |
d
(H7)
|
f4 | A1 | L2 | W | t | b | M |
| KAB47 | 35 | 3 | 15 | 130 | 75 | 38.3 | 10 |
用
户
自
配
|
| KAB67 | 40 | 3.5 | 20 | 156 | 90 | 43.3 | 12 | |
| KAB77 | 50 | 4 | 22.5 | 183 | 105 | 53.8 | 14 | |
| KAB87 | 60 | 4 | 30 | 210 | 120 | 64.4 | 18 | |
| KAB97 | 70 | 4 | 30 | 270 | 150 | 74.9 | 20 | |
| KAB107 | 90 | 2.5 | 40 | 310 | 175 | 95.4 | 25 | |
| KAB127 | 同KA | |||||||
| KAB157 | 同KA | |||||||


| 型号 | D | C1 | H | D1 | f0 | H0 | i2 | W | L1 | S | t | d0 | I | b | h1 |
D2
(h7)
|
d |
| KF37 | 160 | 10 | 165 | 130 | 3.5 | 100 | 50 | 134 | 198 | M10 | 28 | 4-ø9 | 50 | 8 | 7 | 110 | 25k6 |
| KF47 | 200 | 12 | 186 | 165 | 3.5 | 112 | 60 | 160 | 238 | M10 | 33 | 4-ø9 | 60 | 8 | 6.3 | 130 | 30k6 |
| KF67 | 250 | 15 | 228 | 215 | 4 | 140 | 80 | 193 | 251 | M16 | 43 | 4-ø13.5 | 80 | 12 | 20 | 180 | 40k6 |
| KF77 | 300 | 16 | 288 | 265 | 4 | 180 | 100 | 242 | 296 | M16 | 53.5 | 4-ø13.5 | 100 | 14 | 31.3 | 230 | 50k6 |
| KF87 | 350 | 18 | 340 | 300 | 5 | 212 | 120 | 270 | 352 | M20 | 64 | 4-ø18 | 120 | 18 | 25.9 | 250 | 60m6 |
| KF97 | 450 | 22 | 414 | 400 | 5 | 265 | 140 | 332 | 262 | M20 | 74.5 | 8-ø18 | 140 | 20 | 32.3 | 350 | 70m6 |
| KF107 | 450 | 22 | 505 | 400 | 5 | 315 | 170 | 386 | 448 | M24 | 95 | 8-ø18 | 170 | 25 | 53.5 | 350 | 90m6 |
KF127、KF157系列螺旋锥齿轮减速机外形及安装尺寸(Q/ZTB 06-2001)
| 型号 | D | C1 | H | D1 | f0 | H0 | i2 | W | L1 | S | b | t | d0 | I | h1 |
D2
(h7)
|
d
(m6)
|
| KF127 | 550 | 25 | 592 | 500 | 5 | 375 | 210 | 466 | 490 | M24 | 28 | 116 | 8-ø18 | 210 | 57.2 | 450 | 110 |
| KF157 | 660 | 28 | 705 | 600 | 6 | 450 | 210 | 520 | 536 | M24 | 32 | 127 | 8-ø22 | 210 | 77 | 550 | 120 |


KAF型减速器主要尺寸 /mm
| 型 号 | D | C1 | D1 | f0 | i2 | W | t | d0 | L2 | b |
D2
(h7)
|
d
(H7)
|
M |
| KAF37 | 160 | 10 | 130 | 3.5 | 24 | 60 | 33.3 | 4-ø9 | 107 | 8 | 110 | 30 |
用
户
自
配
|
| KAF47 | 200 | 12 | 165 | 3.5 | 25 | 75 | 38.3 | 4-ø9 | 130 | 10 | 130 | 35 | |
| KAF67 | 250 | 15 | 215 | 4 | 23 | 90 | 43.3 | 4-ø13.5 | 156 | 12 | 180 | 40 | |
| KAF77 | 300 | 16 | 265 | 4 | 37 | 105 | 53.8 | 4-ø13.5 | 183 | 14 | 230 | 50 | |
| KAF87 | 350 | 18 | 300 | 5 | 30 | 120 | 64.4 | 4-ø18 | 210 | 18 | 250 | 60 | |
| KAF97 | 450 | 22 | 400 | 5 | 41.5 | 150 | 74.9 | 8-ø18 | 270 | 20 | 350 | 70 | |
| KAF107 | 450 | 22 | 400 | 5 | 41 | 175 | 95.4 | 8-ø18 | 310 | 25 | 350 | 90 | |
| KAF127 | 550 | 25 | 500 | 5 | 51 | 205 | 106.4 | 8-ø18 | 370 | 28 | 450 | 100 | |
| KAF157 | 660 | 28 | 600 | 6 | 60 | 250 | 127.4 | 8-ø22 | 457 | 32 | 550 | 120 |
KAT37、KAT47、KAT67、KAT77、KAT87、KAT97、KAT107、KAT127、KAT157、系列螺旋锥齿轮减速机外形及安装尺寸(Q/ZTB 06-2001)


KAT 型减速器主要尺寸 /mm
| 型号 | α4 | β | C8 | i | P | R | H0 | d1 | L1-0.3 | L2 |
| KAT37 | 23.5 | 60’ | 10 | 20 | 140 | 22.5 | 100 | 10.4±0.1 | 36 | 31 |
| KAT47 | 30 | 55’ | 12 | 20 | 160 | 22.5 | 112 | 10.4±0.1 | 36 | 31 |
| KAT67 | 45 | 55’ | 13 | 25 | 200 | 29 | 140 | 16.4±0.08 | 60 | 54 |
| KAT77 | 52.5 | 60’ | 14 | 25 | 250 | 29 | 180 | 16.4±0.08 | 60 | 54 |
| KAT87 | 60 | 60’ | 16 | 30 | 300 | 41 | 212 | 25±0.08 | 80 | 72 |
| KAT97 | 70 | 50’ | 17 | 40 | 350 | 41 | 265 | 25±0.08 | 100 | 92 |
| KAT107 | 74 | 55’ | 20 | 45 | 450 | 41 | 315 | 25±0.08 | 100 | 92 |
| KAT127 | 60 | 65’ | 45 | 7 | 550 | 70 | 375 | 40±0.08 | 126 | 110 |
| KAT157 | 50 | 70’ | 45 | 2 | 700 | 70 | 450 | 40±0.08 | 126 | 110 |
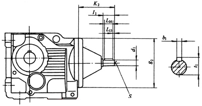
KS37、KS47、KS67、KS77、KS87、KS97、KS107、KS127、KS157、系列螺旋锥齿轮减速机外形及安装尺寸(Q/ZTB 06-2001)


KS型减速器主要尺寸 /mm
| 型号 | d1 | g2 | K2 | I1 | S | L13 | L14 | t1 | b1 |
| KS37 | 16k6 | 120 | 115 | 40 | M5 | 4 | 32 | 18 | 5 |
| KS47 | 19k6 | 160 | 120 | 40 | M6 | 4 | 32 | 21.5 | 6 |
| KS67 | 19k6 | 160 | 120 | 40 | M6 | 4 | 32 | 21.5 | 6 |
| KS77 | 24k6 | 200 | 140 | 50 | M8 | 5 | 40 | 27 | 8 |
| KS87 | 28k6 | 250 | 180 | 60 | M10 | 5 | 50 | 31 | 8 |
| KS97 | 38k6 | 300 | 220 | 80 | M12 | 5 | 70 | 41 | 10 |
| KS107 | 42k6 | 350 | 270 | 110 | M16 | 10 | 70 | 45 | 12 |
| KS127 | 55m6 | 450 | 297 | 110 | M20 | 10 | 90 | 59 | 16 |
| KS157 | 70m6 | 550 | 374 | 140 | M20 | 15 | 110 | 74.5 | 20 |
K系列螺旋锥齿轮减速机输入功率与输出转矩(Q/ZTB 06-2001)
K型减速器输入功率与许用转矩
| 规格 | 37 | 47 | 67 | 77 | 87 | 97 | 107 | 127 | 157 |
| 结构形式 | K、KA、KAB、KF、KAF、KAT | ||||||||
| 输入功率/kW | 0.12~3 | 0.12~3 | 0.25~5.5 | 0.37~11 | 0.75~22 | 1.1~30 | 3~45 | 7.5~90 | 11~160 |
| 传动比 | 5.29~106.49 | 6.41~135.08 | 7.2~147.72 | 7.37~197.03 | 7.4~181.68 | 8.89~150.80 | 8.64~144.58 | 8.72~146.40 | 12.81~149.81 |
| 许用转矩/N·m | 185 | 385 | 680 | 1380 | 2560 | 3990 | 6840 | 11400 | |








